USP Icon
Post-paiement
USP Icon
Les clients évaluent Zandri à 9
USP Icon
Plus de 100 000 pièces dans l'assortiment

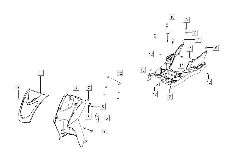
Kymco Agility 10' 4 temps gris foncé

Kymco Agility 10' 4 temps gris foncé
loader
Chargement...

Pièces détachées Kymco Agility 10 pouces 4 temps gris foncé