USP Icon
Post-paiement
USP Icon
Les clients évaluent Zandri à 9
USP Icon
Plus de 100 000 pièces dans l'assortiment

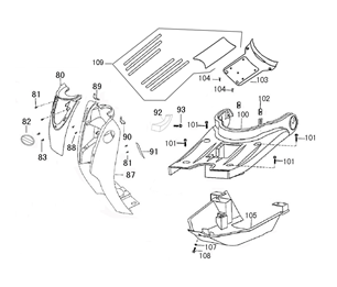
Coupes de cheveux crème Senzo Old Classic

Coupes de cheveux crème Senzo Old Classic
loader
Chargement...

Pièces détachées Senzo Old Classic beige