USP Icon
Post-paiement
USP Icon
Les clients évaluent Zandri à 9
USP Icon
Plus de 100 000 pièces dans l'assortiment

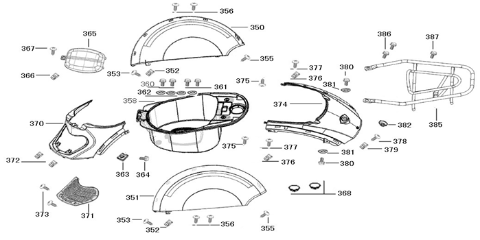
Capot arrière central Znen Revival creme terra

Capot arrière central Znen Revival creme terra
loader
Chargement...

Pièces détachées Znen Revival beige terra