USP Icon
Post-paiement
USP Icon
Les clients évaluent Zandri à 9
USP Icon
Plus de 100 000 pièces dans l'assortiment

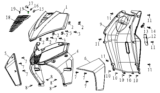
Bouclier de jambe avant AGM rouge renard mat

Bouclier de jambe avant AGM rouge renard mat
loader
Chargement...