USP Icon
Post-paiement
USP Icon
Les clients évaluent Zandri à 9
USP Icon
Plus de 100 000 pièces dans l'assortiment

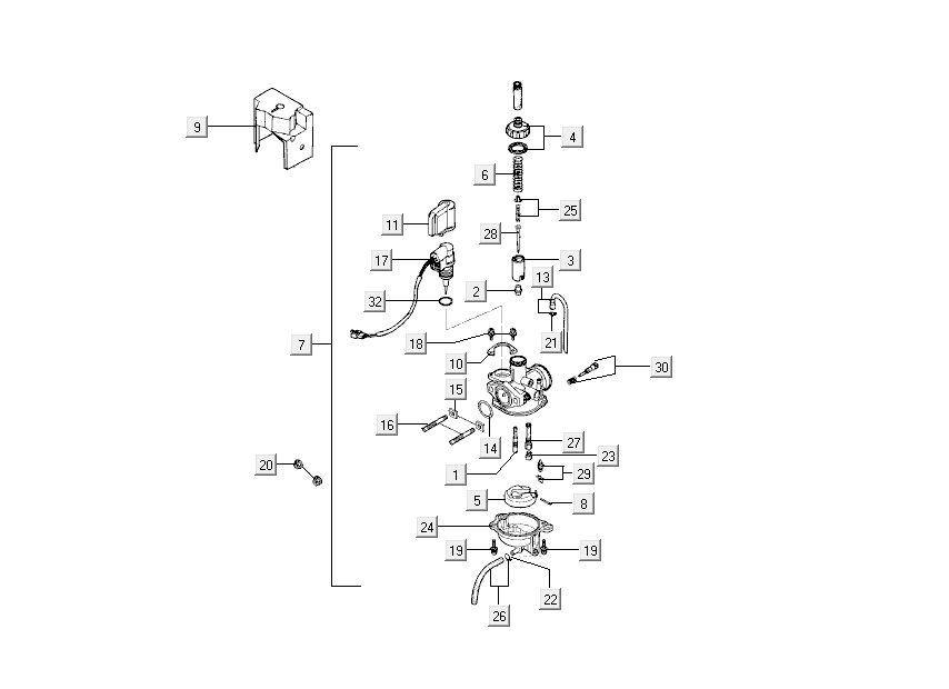
Carburateur - starter Kymco People 2 temps bleu

Carburateur - starter Kymco People 2 temps bleu
loader
Chargement...

Pièces détachées Kymco People 2 temps 50cc bleu