USP Icon
Post-paiement
USP Icon
Les clients évaluent Zandri à 9
USP Icon
Plus de 100 000 pièces dans l'assortiment

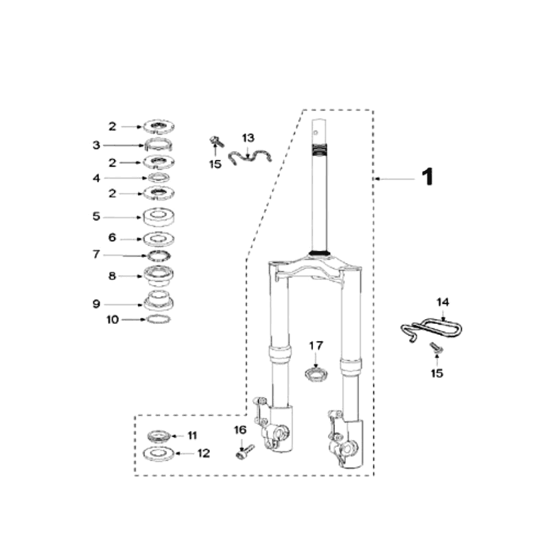
Fourche avant - Headset Peugeot Speedfight 3 LC noir

Fourche avant - Headset Peugeot Speedfight 3 LC noir
loader
Chargement...