USP Icon
Post-paiement
USP Icon
Les clients évaluent Zandri à 9
USP Icon
Plus de 100 000 pièces dans l'assortiment

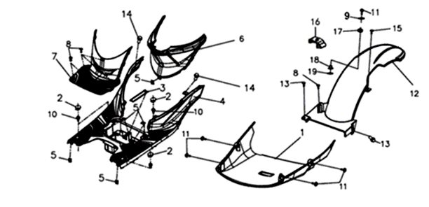
Marchepiedet couvre-cadre 2 Sym Symphony ST 200I bleu/noir/argent

Marchepiedet couvre-cadre 2 Sym Symphony ST 200I bleu/noir/argent
loader
Chargement...

Sym Symphony ST 200I E4 Blue/ Black/ Silver