USP Icon
Post-paiement
USP Icon
Les clients évaluent Zandri à 9
USP Icon
Plus de 100 000 pièces dans l'assortiment

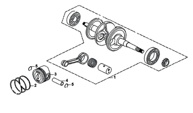
Crank shaft Sym Orbit II 125i E4

Crank shaft Sym Orbit II 125i E4
loader
Chargement...