USP Icon
Post-paiement
USP Icon
Les clients évaluent Zandri à 9
USP Icon
Plus de 100 000 pièces dans l'assortiment

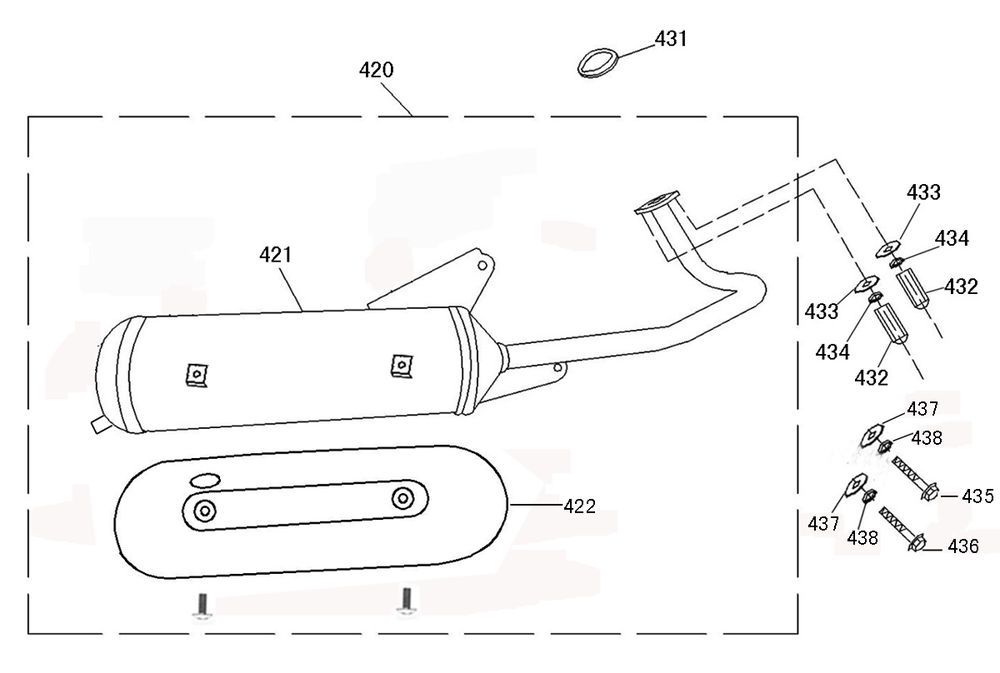
Echappement Benzhou YY50QT-45A bleu foncé

Echappement Benzhou YY50QT-45A bleu foncé
loader
Chargement...