USP Icon
Post-paiement
USP Icon
Les clients évaluent Zandri à 9
USP Icon
Plus de 100 000 pièces dans l'assortiment

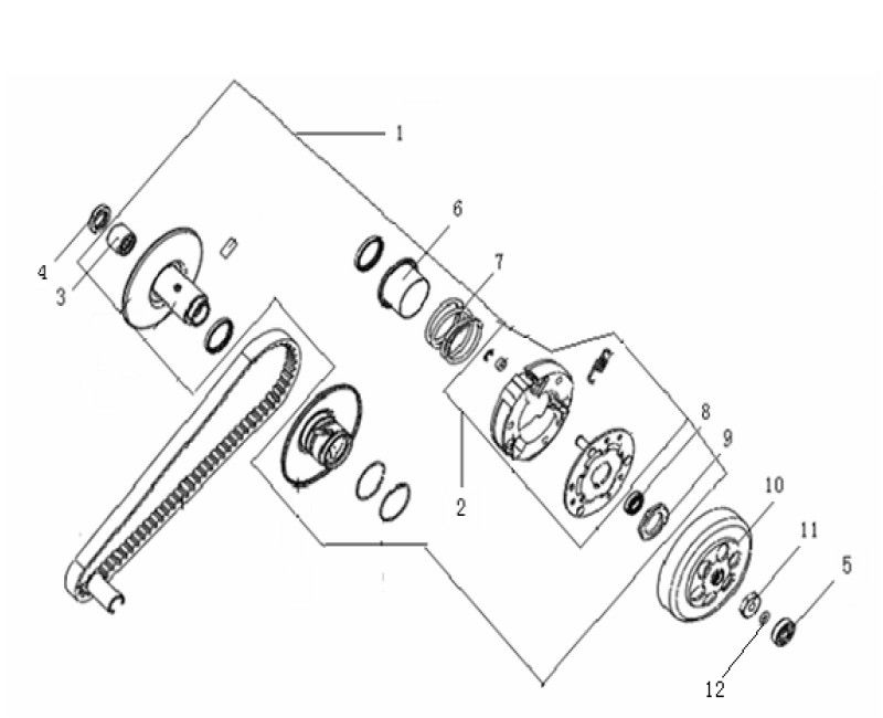
Embrayage Generic Xor silver 2006 2 temps

Embrayage Generic Xor silver 2006 2 temps
loader
Chargement...

Pièces détachées Generic Xor argent 2006 2 temps