USP Icon
Post-paiement
USP Icon
Les clients évaluent Zandri à 9
USP Icon
Plus de 100 000 pièces dans l'assortiment

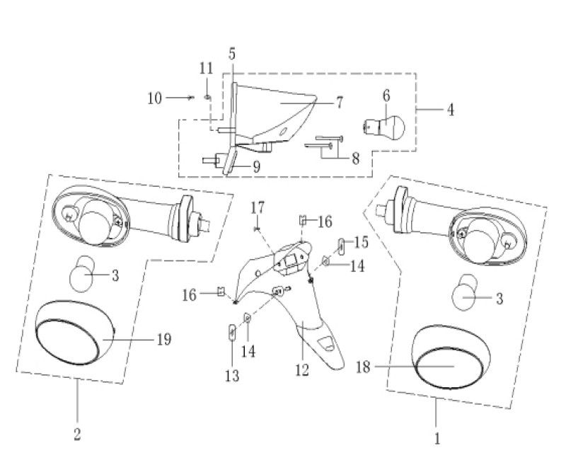
Feu arrière Generic Cracker Limited blanc 2009 2 temps

Feu arrière Generic Cracker Limited blanc 2009 2 temps
loader
Chargement...

Pièces détachées Generic Cracker limité blanc 2009 2 temps