USP Icon
Post-paiement
USP Icon
Les clients évaluent Zandri à 9
USP Icon
Plus de 100 000 pièces dans l'assortiment

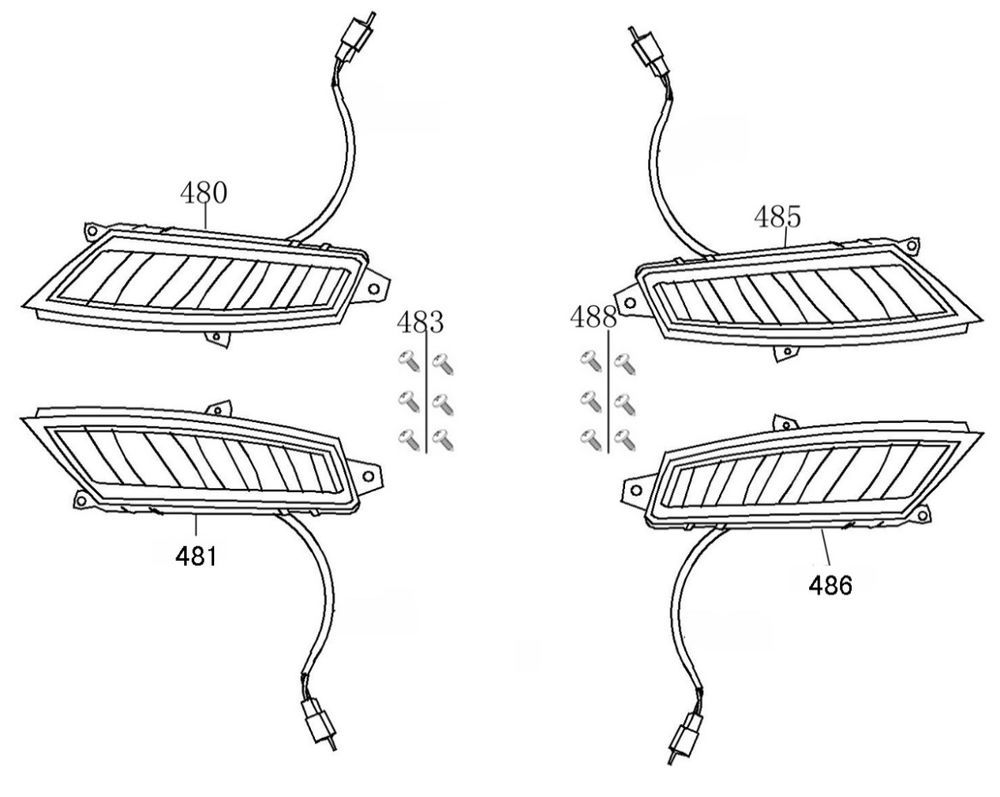
Clignotants Edwards Tomorrow Riva II noirs

Clignotants Edwards Tomorrow Riva II noirs
loader
Chargement...