USP Icon
Post-paiement
USP Icon
Les clients évaluent Zandri à 9
USP Icon
Plus de 100 000 pièces dans l'assortiment

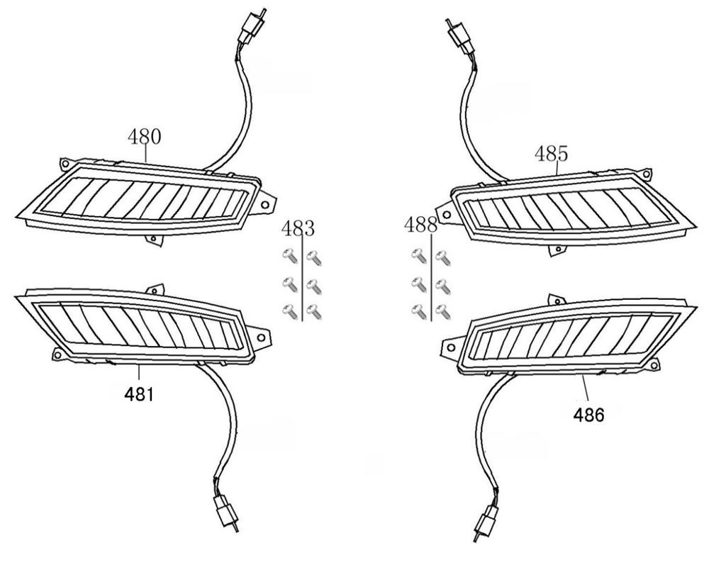
Indicateurs Edwards Tomorrow Riva II smokey

Indicateurs Edwards Tomorrow Riva II smokey
loader
Chargement...