USP Icon
Post-paiement
USP Icon
Les clients évaluent Zandri à 9
USP Icon
Plus de 100 000 pièces dans l'assortiment

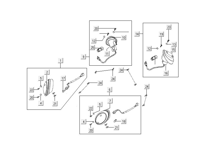
clignotants Kymco Sento 4 temps marron

clignotants Kymco Sento 4 temps marron
loader
Chargement...

Pièces détachées Kymco Sento 4 temps brun