USP Icon
Post-paiement
USP Icon
Les clients évaluent Zandri à 9
USP Icon
Plus de 100 000 pièces dans l'assortiment

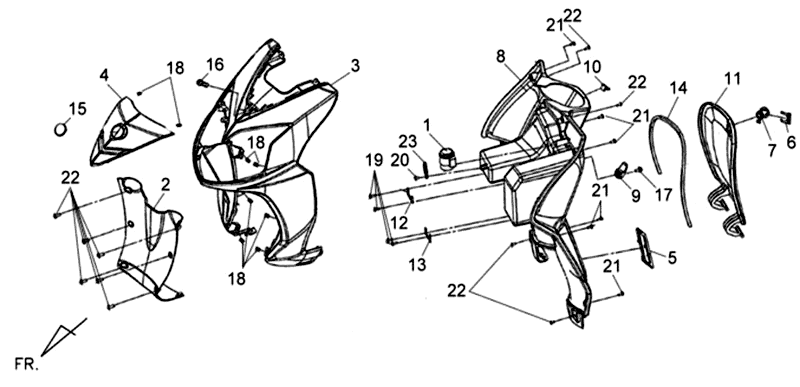
Clignotants pour phares Sym Jet 4 (BK001C) noir

Clignotants pour phares Sym Jet 4 (BK001C) noir
loader
Chargement...

Pièces détachées Sym Jet 4 (BK001C) noir