USP Icon
Post-paiement
USP Icon
Les clients évaluent Zandri à 9
USP Icon
Plus de 100 000 pièces dans l'assortiment

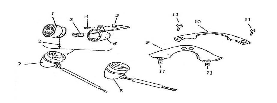
Feux clignotants Vom Bella 125cc

Feux clignotants Vom Bella 125cc
loader
Chargement...