USP Icon
Post-paiement
USP Icon
Les clients évaluent Zandri à 9
USP Icon
Plus de 100 000 pièces dans l'assortiment

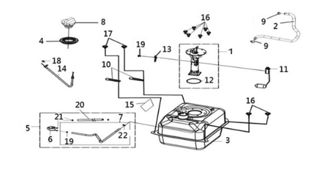
Fuel tank Sym Joymax Z 125 E4

Fuel tank Sym Joymax Z 125 E4
loader
Chargement...

SYM Joymax Z 125i CBS E4 2019-2020 RED (R-010CA)