USP Icon
Post-paiement
USP Icon
Les clients évaluent Zandri à 9
USP Icon
Plus de 100 000 pièces dans l'assortiment

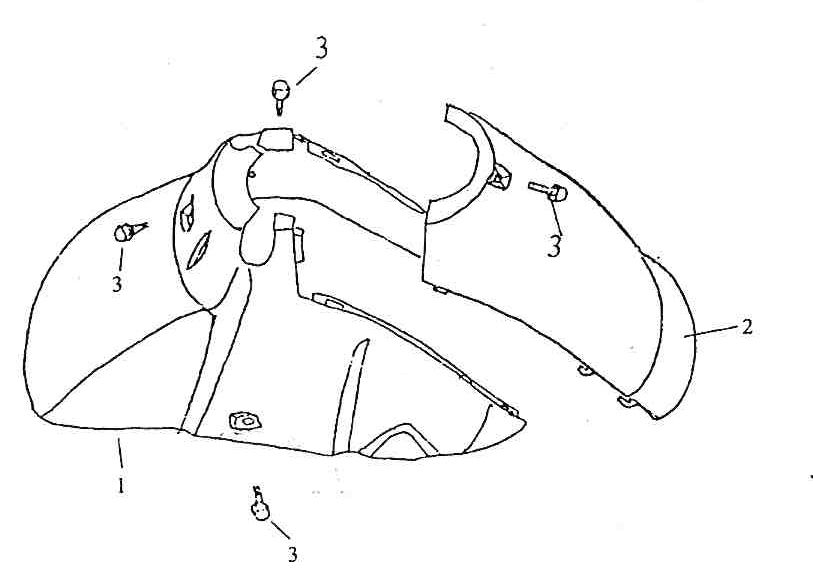
Garde boue avant AGM Retro après 2013 jaune crème

Garde boue avant AGM Retro après 2013 jaune crème
loader
Chargement...

Pièces détachées AGM Retro na 2013 jaune beige