USP Icon
Post-paiement
USP Icon
Les clients évaluent Zandri à 9
USP Icon
Plus de 100 000 pièces dans l'assortiment

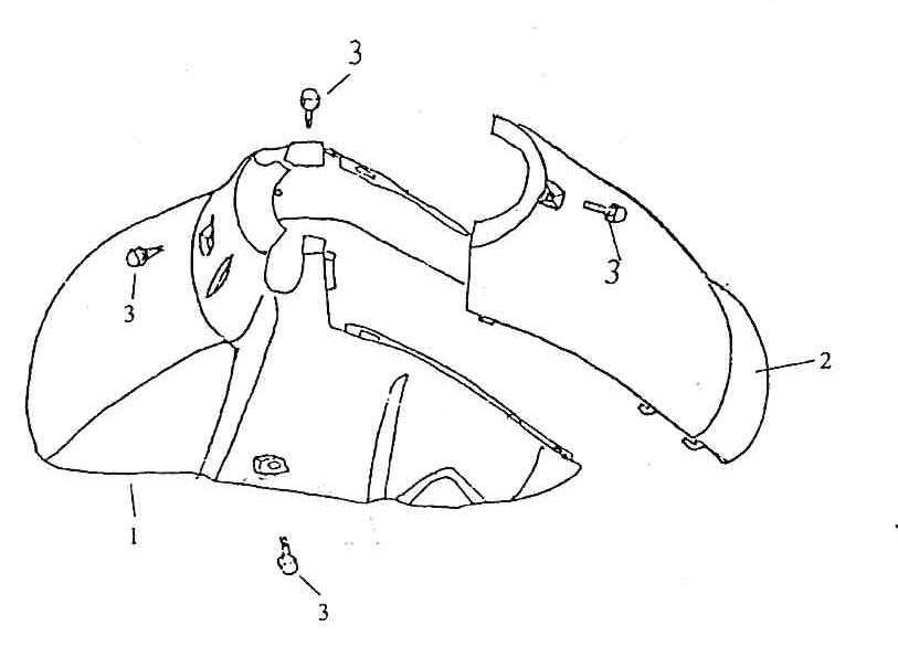
Garde boue avant AGM Retro pour 2013 bleu foncé

Garde boue avant AGM Retro pour 2013 bleu foncé
loader
Chargement...

Pièces détachées AGM Retro voor 2013 bleu foncé