USP Icon
Post-paiement
USP Icon
Les clients évaluent Zandri à 9
USP Icon
Plus de 100 000 pièces dans l'assortiment

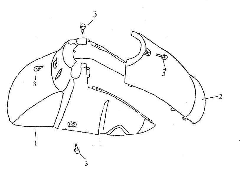
Garde boue avant BTC Grande Retro GT1 anthracite

Garde boue avant BTC Grande Retro GT1 anthracite
loader
Chargement...

Pièces détachées BTC Grande Retro GT1 anthracite