USP Icon
Post-paiement
USP Icon
Les clients évaluent Zandri à 9
USP Icon
Plus de 100 000 pièces dans l'assortiment

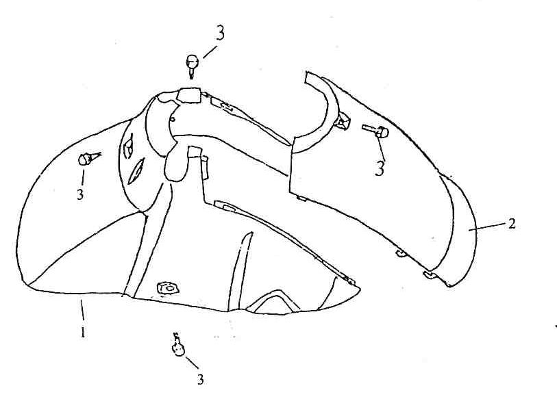
Garde boue avant BTC Grande Retro bleu clair

Garde boue avant BTC Grande Retro bleu clair
loader
Chargement...

Pièces détachées BTC Grande Retro bleu clair