USP Icon
Post-paiement
USP Icon
Les clients évaluent Zandri à 9
USP Icon
Plus de 100 000 pièces dans l'assortiment

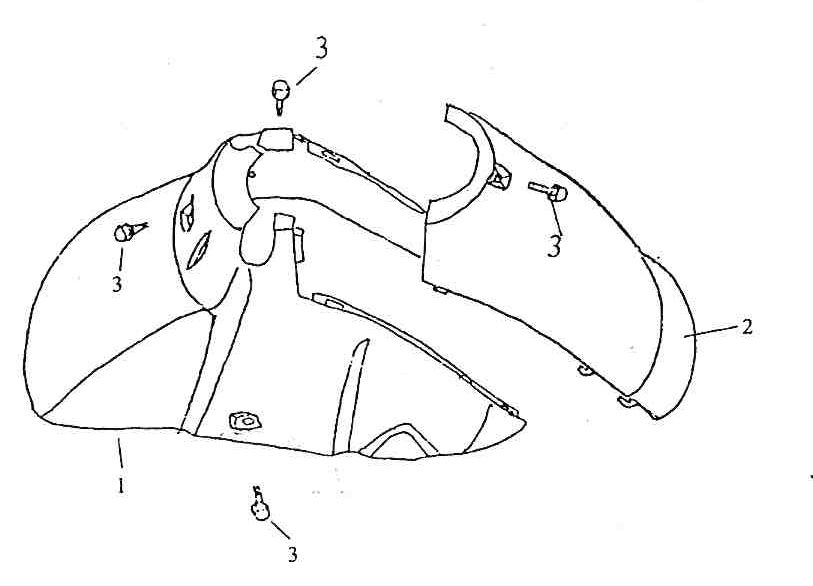
Garde boue avant Fosti Retro bleu clair

Garde boue avant Fosti Retro bleu clair
loader
Chargement...

Pièces détachées Fosti Grande Retro bleu clair