USP Icon
Post-paiement
USP Icon
Les clients évaluent Zandri à 9
USP Icon
Plus de 100 000 pièces dans l'assortiment

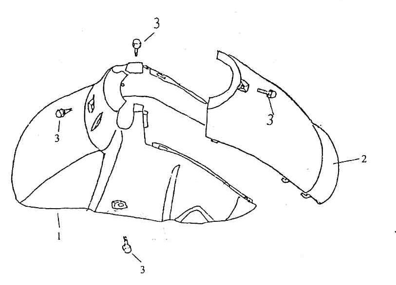
Garde boue avant Fosti Retro bleu foncé

Garde boue avant Fosti Retro bleu foncé
loader
Chargement...

Pièces détachées Fosti Grande Retro bleu foncé