USP Icon
Post-paiement
USP Icon
Les clients évaluent Zandri à 9
USP Icon
Plus de 100 000 pièces dans l'assortiment

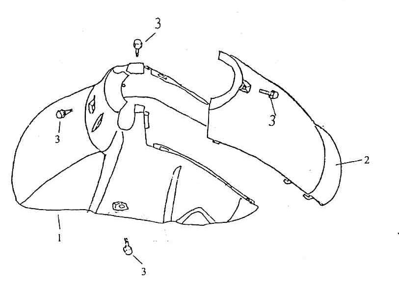
Garde boue avant Fosti Retro black cream

Garde boue avant Fosti Retro black cream
loader
Chargement...

Pièces détachées Fosti Grande Retro noir beige