USP Icon
Post-paiement
USP Icon
Les clients évaluent Zandri à 9
USP Icon
Plus de 100 000 pièces dans l'assortiment

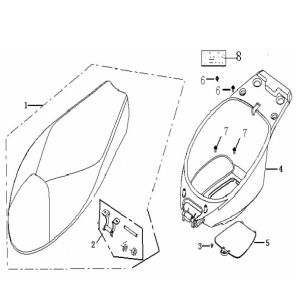
Garde boue avant Generic Ideo noir 2007 2 temps 25

Garde boue avant Generic Ideo noir 2007 2 temps 25
loader
Chargement...

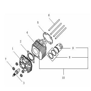
Pièces détachées Generic Ideo noir 2007 2 temps 25km/h