USP Icon
Post-paiement
USP Icon
Les clients évaluent Zandri à 9
USP Icon
Plus de 100 000 pièces dans l'assortiment

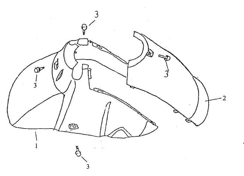
Garde boue avant Iva Roma bleu blanc

Garde boue avant Iva Roma bleu blanc
loader
Chargement...

Pièces détachées Iva Roma bleu blanc