USP Icon
Post-paiement
USP Icon
Les clients évaluent Zandri à 9
USP Icon
Plus de 100 000 pièces dans l'assortiment

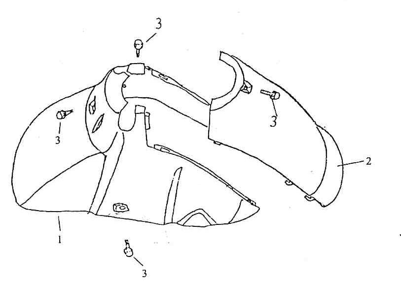
Garde boue avant Lintex Retro HT50QT-29 bleu crème

Garde boue avant Lintex Retro HT50QT-29 bleu crème
loader
Chargement...

Pièces détachées Lintex Retro HT50QT-29 bleu beige