USP Icon
Post-paiement
USP Icon
Les clients évaluent Zandri à 9
USP Icon
Plus de 100 000 pièces dans l'assortiment

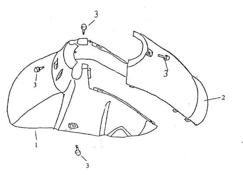
Garde boue avant Turbho RG50 bleu crème métallisé

Garde boue avant Turbho RG50 bleu crème métallisé
loader
Chargement...

Pièces détachées Turbho RG50 bleu beige métallique