USP Icon
Post-paiement
USP Icon
Les clients évaluent Zandri à 9
USP Icon
Plus de 100 000 pièces dans l'assortiment

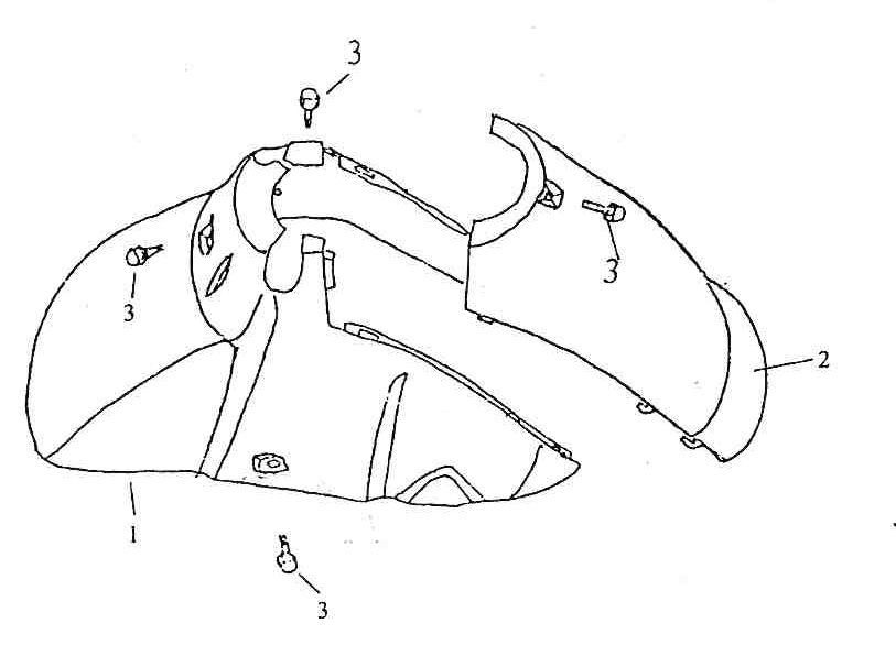
Garde boue avant Turbo RG50 noir

Garde boue avant Turbo RG50 noir
loader
Chargement...

Pièces détachées Turbho RG50 noir