USP Icon
Post-paiement
USP Icon
Les clients évaluent Zandri à 9
USP Icon
Plus de 100 000 pièces dans l'assortiment

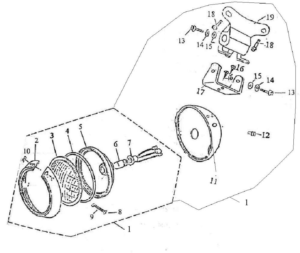
Phare AGM Retro après 2013 anthracite

Phare AGM Retro après 2013 anthracite
loader
Chargement...

Pièces détachées AGM Retro na 2013 anthracite