USP Icon
Post-paiement
USP Icon
Les clients évaluent Zandri à 9
USP Icon
Plus de 100 000 pièces dans l'assortiment

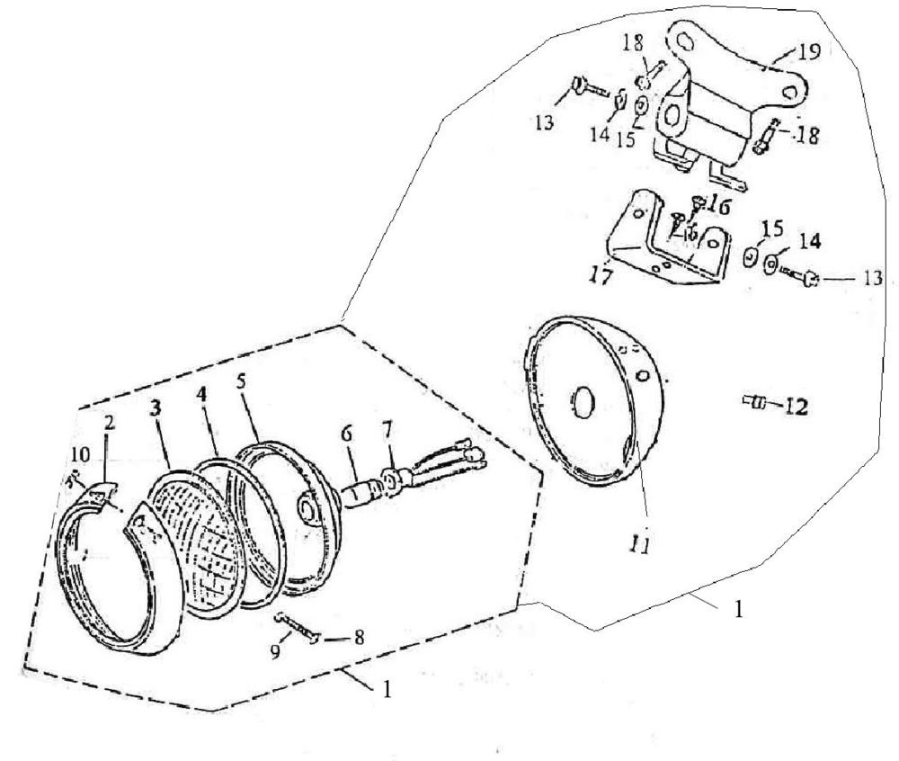
Phare AGM Retro après 2013 bleu blanc

Phare AGM Retro après 2013 bleu blanc
loader
Chargement...

Pièces détachées AGM Retro na 2013 bleu blanc