USP Icon
Post-paiement
USP Icon
Les clients évaluent Zandri à 9
USP Icon
Plus de 100 000 pièces dans l'assortiment

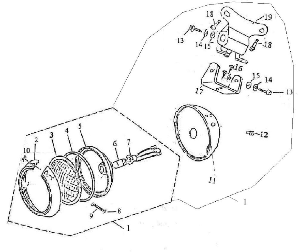
Phare AGM Retro pour 2013 blanc

Phare AGM Retro pour 2013 blanc
loader
Chargement...

Pièces détachées AGM Retro voor 2013 blanc