USP Icon
Post-paiement
USP Icon
Les clients évaluent Zandri à 9
USP Icon
Plus de 100 000 pièces dans l'assortiment

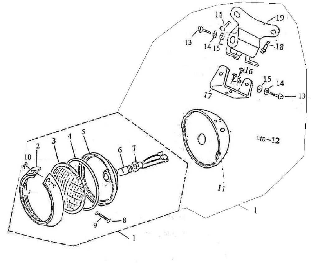
Optique de phareBTC Grande Retro GT1 bleu clair

Optique de phareBTC Grande Retro GT1 bleu clair
loader
Chargement...

Pièces détachées BTC Grande Retro GT1 bleu clair