USP Icon
Post-paiement
USP Icon
Les clients évaluent Zandri à 9
USP Icon
Plus de 100 000 pièces dans l'assortiment

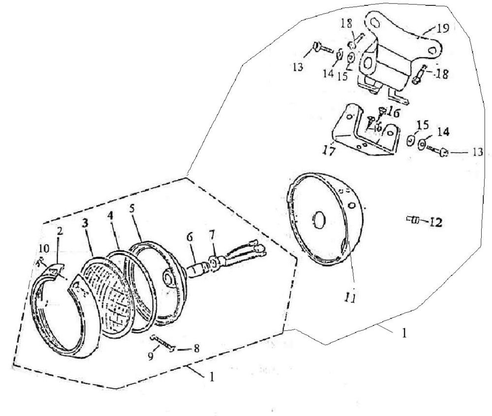
Optique de phareBTC Grande Retro orange

Optique de phareBTC Grande Retro orange
loader
Chargement...

Pièces détachées BTC Grande Retro orange