USP Icon
Post-paiement
USP Icon
Les clients évaluent Zandri à 9
USP Icon
Plus de 100 000 pièces dans l'assortiment

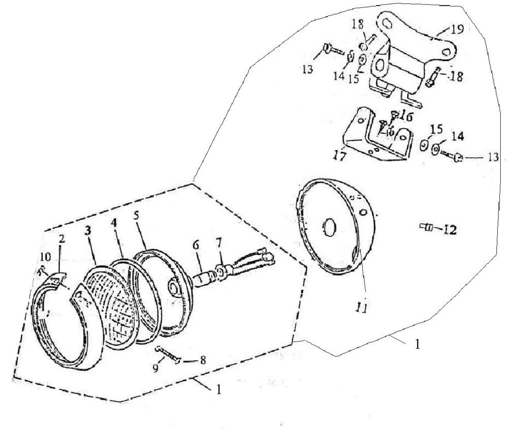
Optique de phareChina Retro rouge

Optique de phareChina Retro rouge
loader
Chargement...

Pièces détachées China Grande Retro rouge