USP Icon
Post-paiement
USP Icon
Les clients évaluent Zandri à 9
USP Icon
Plus de 100 000 pièces dans l'assortiment

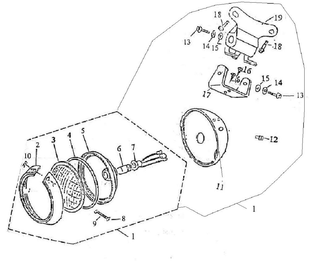
Optique de phareGiantco Grand Venus bleu foncé

Optique de phareGiantco Grand Venus bleu foncé
loader
Chargement...

Pièces détachées Giantco Grand Venus bleu foncé