USP Icon
Post-paiement
USP Icon
Les clients évaluent Zandri à 9
USP Icon
Plus de 100 000 pièces dans l'assortiment

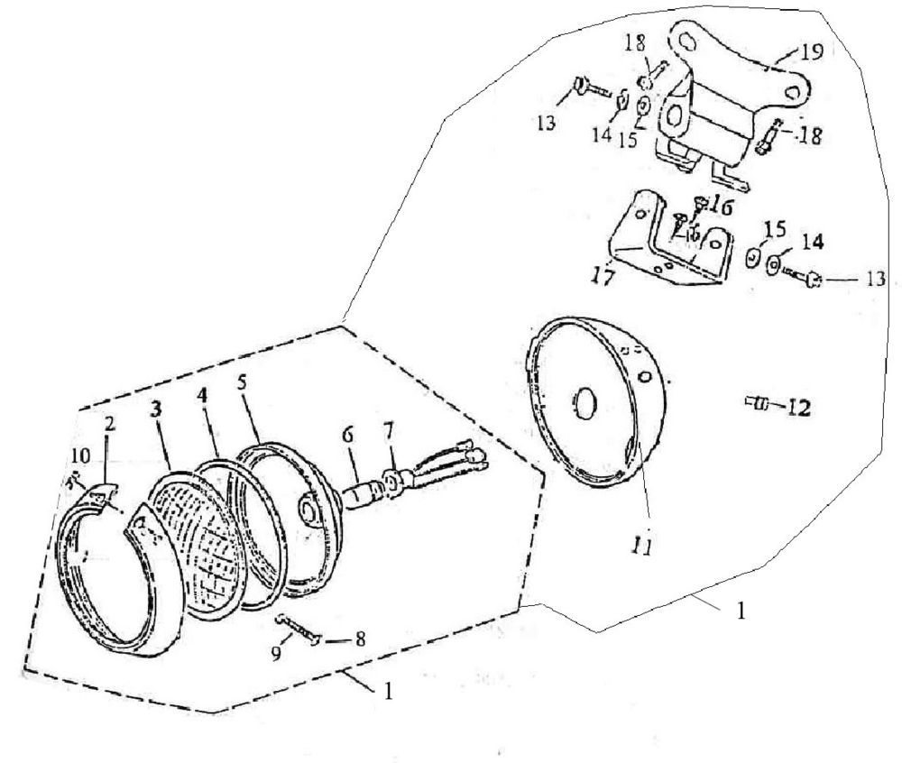
Optique de phareTurbo RG50 rouge

Optique de phareTurbo RG50 rouge
loader
Chargement...

Pièces détachées Turbho RG50 rouge