USP Icon
Post-paiement
USP Icon
Les clients évaluent Zandri à 9
USP Icon
Plus de 100 000 pièces dans l'assortiment

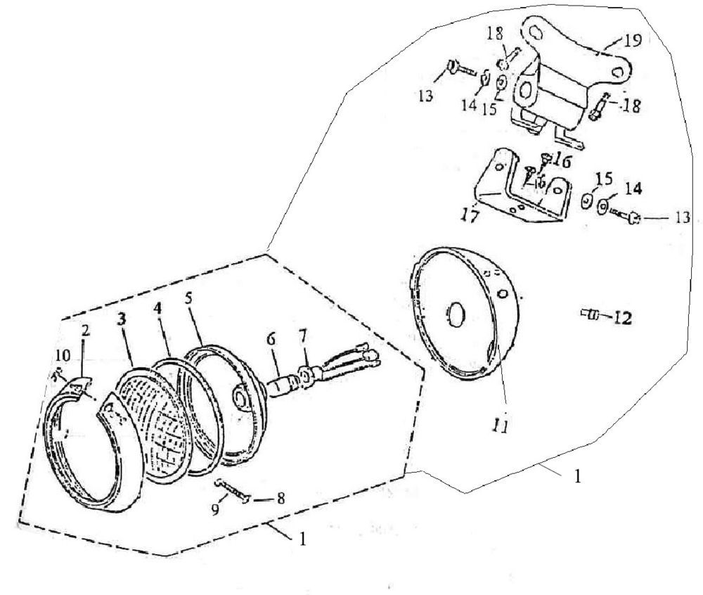
Optique de phareViraggio Retro bleu crème métallisé

Optique de phareViraggio Retro bleu crème métallisé
loader
Chargement...

Viraggio Sensa Euro2 <2018