USP Icon
Post-paiement
USP Icon
Les clients évaluent Zandri à 9
USP Icon
Plus de 100 000 pièces dans l'assortiment

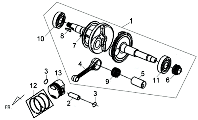
Vilebrequin Sym Allo (WH871) champagne

Vilebrequin Sym Allo (WH871) champagne
loader
Chargement...

Pièces détachées Sym Allo (WH871) champagne