USP Icon
Post-paiement
USP Icon
Les clients évaluent Zandri à 9
USP Icon
Plus de 100 000 pièces dans l'assortiment

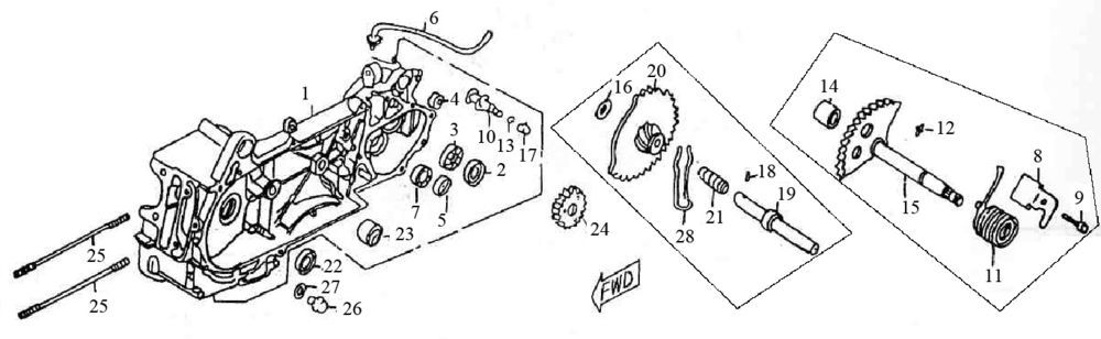
Pièces de carter Viraggio Retro (Sensa) 125cc

Pièces de carter Viraggio Retro (Sensa) 125cc
loader
Chargement...

Viraggio Sensa 125cc