USP Icon
Post-paiement
USP Icon
Les clients évaluent Zandri à 9
USP Icon
Plus de 100 000 pièces dans l'assortiment

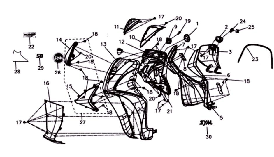
Plaque intérieure Clignotants Sym Symphony ST euro4 (WH-006) blanc

Plaque intérieure Clignotants Sym Symphony ST euro4 (WH-006) blanc
loader
Chargement...

Pièces détachées Sym Symphony ST Euro4 (WH-006) blanc