USP Icon
Post-paiement
USP Icon
Les clients évaluent Zandri à 9
USP Icon
Plus de 100 000 pièces dans l'assortiment

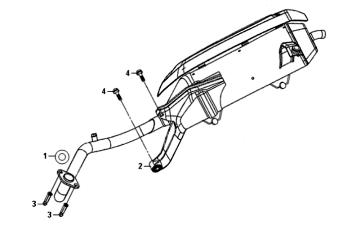
Pot d'échappement Sym Symphony ST E3

Pot d'échappement Sym Symphony ST E3
loader
Chargement...