USP Icon
Post-paiement
USP Icon
Les clients évaluent Zandri à 9
USP Icon
Plus de 100 000 pièces dans l'assortiment

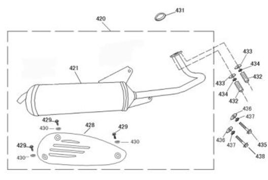
Echappement Znen Elegance-Uitlaat-Znen-Elegance-zwart

Echappement Znen Elegance-Uitlaat-Znen-Elegance-zwart
loader
Chargement...

Pièces détachées Znen Elegance noir