USP Icon
Post-paiement
USP Icon
Les clients évaluent Zandri à 9
USP Icon
Plus de 100 000 pièces dans l'assortiment

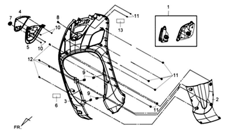
Optique Phare Sym Fiddle III (WH006 BL5560S) noir blanc

Optique Phare Sym Fiddle III (WH006 BL5560S) noir blanc
loader
Chargement...