USP Icon
Post-paiement
USP Icon
Les clients évaluent Zandri à 9
USP Icon
Plus de 100 000 pièces dans l'assortiment

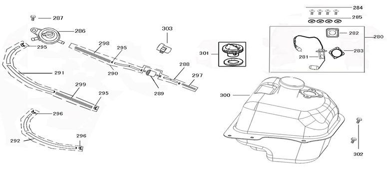
Réservoir d'essence Neco Lola gris crème

Réservoir d'essence Neco Lola gris crème
loader
Chargement...

Pièces détachées Neco Lola beige gris