USP Icon
Post-paiement
USP Icon
Les clients évaluent Zandri à 9
USP Icon
Plus de 100 000 pièces dans l'assortiment

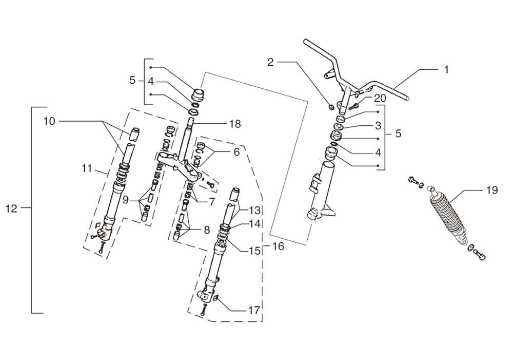
Suspension Beta Ark-K AC jaune-argent 2 temps

Suspension Beta Ark-K AC jaune-argent 2 temps
loader
Chargement...