USP Icon
Post-paiement
USP Icon
Les clients évaluent Zandri à 9
USP Icon
Plus de 100 000 pièces dans l'assortiment

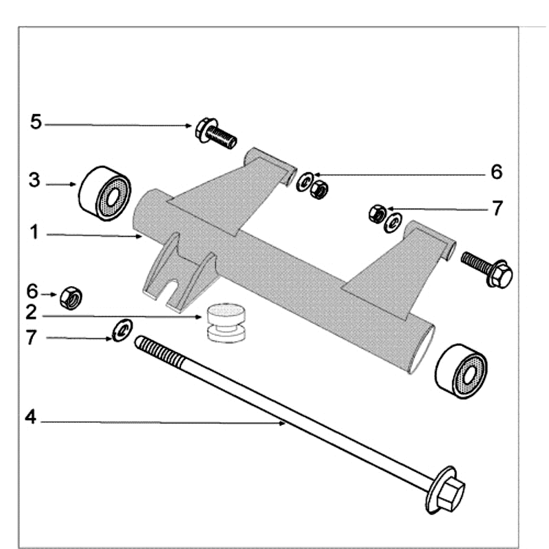
Suspension moteur Peugeot Kisbee RS Matt Black

Suspension moteur Peugeot Kisbee RS Matt Black
loader
Chargement...

Pièces détachées Peugeot Kisbee RS noir mat