USP Icon
Post-paiement
USP Icon
Les clients évaluent Zandri à 9
USP Icon
Plus de 100 000 pièces dans l'assortiment

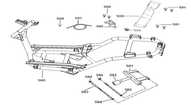
Pièces de cadre Znen Revival noir rouge

Pièces de cadre Znen Revival noir rouge
loader
Chargement...

Pièces détachées Znen Revival noir rouge