USP Icon
Post-paiement
USP Icon
Les clients évaluent Zandri à 9
USP Icon
Plus de 100 000 pièces dans l'assortiment

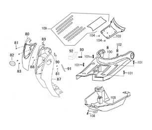
Coupes de cheveux Pronto San Remo bleu

Coupes de cheveux Pronto San Remo bleu
loader
Chargement...

Pièces détachées Pronto San Remo bleu