USP Icon
Post-paiement
USP Icon
Les clients évaluent Zandri à 9
USP Icon
Plus de 100 000 pièces dans l'assortiment

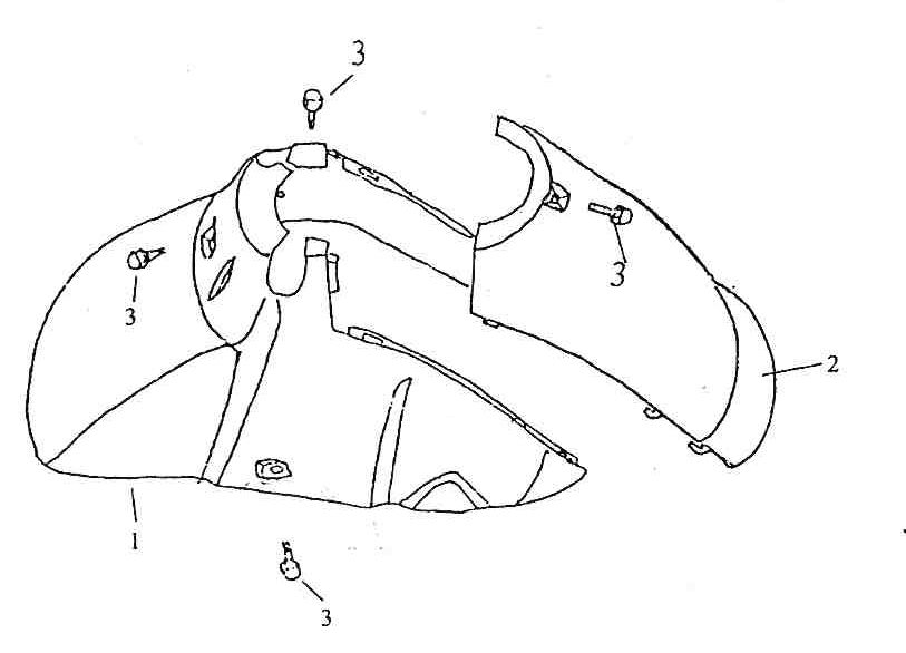
Garde boue avant Znen Grand Retro anthracite

Garde boue avant Znen Grand Retro anthracite
loader
Chargement...

Pièces détachées Znen Aurora IV anthracite